| COMPOSANTS |

| 1. Adaptateur de la pompe à carburant 2. Chapeau du palier de l’arbre à cames 3. Chapeau de palier avant de l’arbre à cames 4. Arbre à cames d'échappement |
5. Arbre à cames d'admission 6. CVVT d'échappement 7. CVVT d'admission |
| Description |
| – |
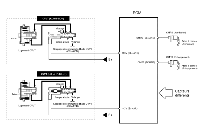
la Soupape de Commande d'Huile CVVT (OCV) qui fournit l'huile moteur
au phaseur de came ou vidange l'huile moteur du phaseur de came conformément
au signal PWM (Pulsation avec modulation) de l'ECM,
|
| – |
Le Capteur de Température d'Huile CVVT (OTS) qui mesure la température
de l'huile moteur,
|
| – |
et le synchronisateur de came qui varie la phase de came en utilisant
la force hydraulique de l'huile moteur.
|

| Principe de fonctionnement |

| [Mode système CVVT] |

|
(1) Vitesse lente / Charge faible |
(2) Charge partielle |
|
|
|
|
(3) Vitesse lente / Charge élevée |
(4) Vitesse rapide / Charge élevée |
|
|
|
|
Conduite État |
Soupape d′échappement |
Soupape d′admission |
||
|
Soupape Distribution |
Effet |
Soupape Distribution |
Effet |
|
|
(1) Vitesse lente /basse charge |
complètement AVANCE |
* Écart de soupape * Amélioration de la stabilité de combustion |
complètement RETARD |
* Écart de soupape * Amélioration de la stabilité de combustion |
|
(2) Charge partielle |
RETARD |
* Augmentation du travail de détente * Réduction de perte au changement de charge * Réduction de HC |
RETARD |
* Réduction de perte au changement de charge |
|
(3) Vitesse lente /haute charge |
RETARD |
* Augmentation du travail de détente |
AVANCE |
* Prévention contre l'écoulement d'admission vers l'arrière (Amélioration
de l'efficacité du volume) |
|
(4) Vitesse rapide /haute charge |
AVANCE |
* Réduction de perte au changement de charge |
RETARD |
* Amélioration de l'efficacité du volume |
| DÉPOSE |
|
|
| 1. |
Déposez le couvercle de la culasse.
(Reportez-vous à la culasse - "Couvercle de culasse")
|
| 2. |
Déposez l'adaptateur de la pompe à carburant (A).
|
| 3. |
Réglez le cylindre n° 1 au PMH (point mort haut) sur la course de compression.
|
| 4. |
Déposez la poulie d'amortisseur du vilebrequin.
(Reportez-vous au système de distribution - "Poulie d'amortisseur de
vilebrequin")
|
| 5. |
Déposez le boulon du bouchon d'entretien (A) avec le joint (B).
|
| 6. |
Déposez le boulon du bras du tendeur (A).
|
| 7. |
Abaissez le bras du tendeur (A).
|
| 8. |
Retirez les chapeaux de palier de l'arbre à cames.
|
| 9. |
Déposez d'abord l'arbre à cames d'échappement (A) puis l'arbre à cames
d'admission (B).
|
| 10. |
Déposez le bras du tendeur (A).
|
| 11. |
Déposez CVVT (A) de l'arbre à cames.
|
| Contrôle |
| 1. |
Vérifiez les lobes de l′arbre à cames.
À l′aide d′un micromètre, mesurez la hauteur des lobes de cames.
Si la hauteur des lobes de l'arbre à cames est inférieure aux spécifications,
remplacez l'arbre à cames.
|
| 2. |
Contrôlez que la surface du tourillon de l'arbre à cames n'est pas détériorée.
Si le tourillon est excessivement usé, remplacez l'arbre à cames.
|
| 3. |
Vérifiez le jeu du tourillon de l′arbre à cames.
|
| 4. |
Vérifiez le jeu axial de l′arbre à cames.
|
| 1. |
Vérifiez si la CVVT tourne facilement.
|
| INSTALLATION |
| 1. |
Installez CVVT (A) sur l'arbre à cames.
|
| 2. |
Comprimez le piston du tendeur à l'aide d'une barre maniable (A) puis
insérez une goupille d'arrêt (B) dans le trou sur le tendeur pour maintenir
le piston comprimé.
|
| 3. |
Placez l'arbre à cames d'admission (A) puis insérez le bras du tendeur
(B) le long de la chaîne de distribution.
|
| 4. |
Placez l'arbre à cames d'échappement (A).
|
| 5. |
Installez le chapeaux de palier de l'arbre à cames.
Serrez les boulons, à plusieurs reprises, selon la séquence représentée.
|
| 6. |
À l'aide d'un outil adéquat, déplacez le bras du tendeur pour aligner
le trou du boulon du tendeur avec le trou d'entretien.
|
| 7. |
Installez le boulon du bras du tendeur (A).
|
| 8. |
Déposez la goupille d'arrêt du tendeur.
|
| 9. |
Tournez le vilebrequin de deux tours dans la direction de fonctionnement
(sens horaire), puis vérifiez que les repères PMH des pignons de la
CVVT sont en ligne droite sur la surface de culasse.
|
| 10. |
Installez un boulon du bouchon d'entretien (A) avec un joint.
|
| 11. |
Installez la poulie d'amortisseur du vilebrequin.
(Reportez-vous au système de distribution - "Poulie d'amortisseur de
vilebrequin")
|
| 12. |
Installez le couvercle de la culasse.
(Reportez-vous à la culasse - "Couvercle de culasse")
|
Couvercle de culasse
CULASSEBras inférieur arrière: Procédures de réparation
DÉPOSE
1.
Déposez l'ensemble roue/pneu avant (A) du moyeu.
Couple de serrage:
88,3 ~ 107,9 Nm (9,0 ~ 11,0 kgf.m, 65,1 ~ 79,6 lb-ft)
...
Composants et emplacement des composants
EMPLACEMENT DES COMPOSANTS
Le système de dégivreur de pare-brise empêche l'essuie-glage du pare-brise de
geler en hiver. Il comprend le dégivreur dans la partie inférieure du pare-brise,
le contacteur et le relais. Le module de commande de caisse reçoit un signal
d ...