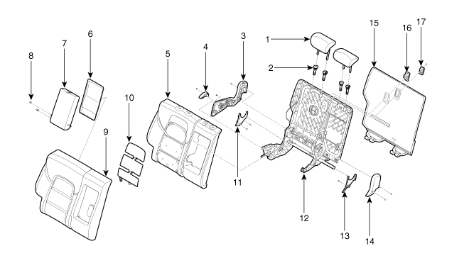
| COMPOSANTS |
| (Gauche) |

| 1. Appui-tête du siège arrière 2. Guide d'appuie-tête de siège arrière 3. Recouvrement intérieur de protection interne du coussin de siège arrière 4. Recouvrement de protection interne du coussin de siège arrière 5. Rembourrage du dossier de siège arrière 6. Chauffage du dossier de siège arrière 7. Revêtement de dossier de siège arrière |
8. Ensemble de l'armature du
dossier de siège arrière 9. Recouvrement intérieur du coussin externe de siège arrière 10. Recouvrement de protection extérieur du coussin de siège arrière 11. Bouton d'inclinaison du siège arrière 12. Tapis arrière de siège arrière 13. Couvercle de l'ancrage pour enfants |
| (Droit) |

| 1. Appui-tête du siège arrière 2. Guide d'appuie-tête de siège arrière 3. Recouvrement de protection extérieur du coussin de siège arrière 4. Bouton d'inclinaison du siège arrière 5. Rembourrage du dossier de siège arrière 6. Panneau de l'accoudoir de siège arrière 7. Ensemble de l'accoudoir de siège arrière 8. Entretoise de l'accoudoir de siège arrière 9. Revêtement de dossier de siège arrière |
10. Chauffage du dossier de siège
arrière 11. Recouvrement intérieur du coussin externe de siège arrière 12. Ensemble de l'armature du dossier de siège arrière 13. Recouvrement intérieur de protection interne du coussin de siège arrière 14. Recouvrement de protection interne du coussin de siège arrière 15. Tapis arrière de siège arrière 16. Couvercle de l'ancrage pour enfants 17. Suspension du siège arrière |
SIÈGE ARRIÈRE
Ensemble du siège arrièreDescription et fonctionnement
DESCRIPTION GÉNÉRALE zDE
L′INSTALLATION
RPAS (Système d'aide au stationnement) est un dispositif d'aide électronique
avertissant le conducteur à être attentif pendant le stationnement ou la conduite
à faible vitesse. Le capteur utilise des ondes ultrasonore ...
Fermeture du hayon
Baissez le hayon et poussez fermement dessus. Vérifiez que le hayon est correctement
verrouillé.
AVERTISSEMENT
Assurez-vous que ni vos mains, ni vos pieds, ni toute autre partie de votre
corps ne fassent obstacle à la fermeture du hayon.
ATTENTION
Assurez-vous que rien ne se trouve à ...