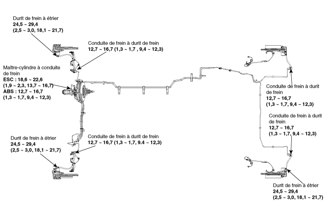
| COMPOSANTS |
| CONDUITE GAUCHE |

| (CONDUITE DROIT) |

| DÉPOSE |
| 1. |
Débranchez le connecteur de l'interrupteur de niveau du liquide des
freins et déposez le bouchon du réservoir.
|
| 2. |
Vidangez le liquide des freins du réservoir du maître-cylindre à l'aide
d'une seringue.
|
| 3. |
Enlevez la roue et le pneu.
|
| 4. |
Déposez le clip du tuyau flexible des freins (A).
|
| 5. |
Déconnectez le tuyau des freins en desserrant l’écrou évasé du tuyau
(B).
AVANT
ARRIÈRE
|
| 6. |
Déconnectez le tuyau flexible des freins (A) de l’étrier de frein en
desserrant le boulon.
AVANT
ARRIÈRE
|
| Contrôle |
| 1. |
Vérifiez que les tuyaux de frein ne sont pas fissurées, serties ou corrodées.
|
| 2. |
Vérifier que les conduites de freinage ne sont pas fissurées, endommagées
et qu'il n'y a pas de fuite de liquide.
|
| 3. |
Vérifier que les écrous évasés de la conduite de freinage ne sont pas
endommagées et qu'il n'y a pas de fuite de liquide.
|
| 4. |
Vérifiez que le support de montage du flexible du frein ne comporte
de fissures ou de déformations.
|
| INSTALLATION |
| 1. |
Pour la pose, suivez la procédure inverse de la dépose.
|
| 2. |
Après l'installation, purgez le système de freinage.
(Voir le système de freinage - "purge du système de freinage")
|
| 3. |
Vérifiez que l'huile de frein ne s'écoule pas.
|
Maître-cylindre
Pédale de freinRéinitialisation du toit ouvrant
Le toit ouvrant doit être réinitialisé dans les cas suivants :
- La batterie est déchargée ou débranchée ou le fusible associé a été remplacé
ou débranché.
- La fonction tactile de glissement du toit ouvrant ne fonctionne pas normalement.
1. Démarrez le moteur et fermez complèt ...
Inversion automatique du déplacement
Si le hayon électrique rencontre un obstacle (objet ou personne) à l'ouverture
ou à la fermeture, il détecte cette résistance.
Si la résistance est détectée à l'ouverture, le hayon s'arrête et se déplace
dans la direction opposée.
Si la résistance est détectée ...