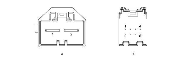
| Diagrammes Schématiques |

| FONCTION DE LA BORNE |

|
NOM CONNECTEUR |
Numéro de broche |
Nom |
Fonction |
|
MDPS_Power A |
1 |
B : |
BATTERIE + |
|
2 |
MASSE |
BATTERIE (+) |
|
|
MDPS_Unit B |
1 |
ALL1 |
Allumage |
|
2 |
N.C. |
- |
|
|
3 |
N.C. |
- |
|
|
4 |
N.C. |
- |
|
|
5 |
N.C. |
- |
|
|
6 |
N.C. |
- |
|
|
7 |
CAN C haut |
CAN Haut |
|
|
8 |
C-CAN_LO |
CAN Bas |
Description et fonctionnement
Procédures de réparationRésistance de soufflerie (MANUEL): Procédures de réparation
Contrôle
1.
Mesurez la résistance entre les bornes.
2.
Si la résistance mesurée n'est pas aux normes, la résistance de soufflerie
doit être remplacée. (Après avoir retiré la résistance)
REMPLACEM ...
Remplacement des ampoules des phares, des feux directionnels statiques, des
feux de position, des clignotants et des feux antibrouillard
Type A
(1) Phares (feux de croisement)
(2) Phares (feux de route)
(3) Clignotants
(4) Feux de position
(5) Feux diurnes
(6) Feux antibrouillard
Type B
(1) Phares (feux de croisement)
(2) Phares (feux de route)
(3) Clignotants
(4) Feux de position
(5) Feux diurnes
(6) Feux antibrouil ...