| Description |

| Principe de fonctionnement |

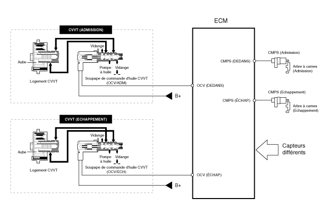
| [Mode système CVVT] |

|
(1) Vitesse lente / Charge faible |
(2) Charge partielle |
|
|
|
|
(3) Vitesse lente / Charge élevée |
(4) Vitesse rapide / Charge élevée |
|
|
|
|
Conduite État |
Soupape d′échappement |
Soupape d′admission |
||
|
Soupape Distribution |
Effet |
Soupape Distribution |
Effet |
|
|
(1) Vitesse lente /basse charge |
complètement AVANCE |
* Écart de soupape * Amélioration de la stabilité de combustion |
complètement RETARD |
* Écart de soupape * Amélioration de la stabilité de combustion |
|
(2) Charge partielle |
RETARD |
* Augmentation du travail de détente * Réduction de perte au changement de charge * Réduction de HC |
RETARD |
* Réduction de perte au changement de charge |
|
(3) Vitesse lente /haute charge |
RETARD |
* Augmentation du travail de détente |
AVANCE |
* Prévention contre l'écoulement d'admission vers l'arrière (Amélioration
de l'efficacité du volume) |
|
(4) Vitesse rapide /haute charge |
AVANCE |
* Réduction de perte au changement de charge |
RETARD |
* Amélioration de l'efficacité du volume |
Convertisseur catalytique: Description et fonctionnementSystème antidémarrage (le cas échéant)
Le système antidémarrage protège votre véhicule contre le vol. Si une clé (ou
tout autre dispositif) incorrectement codée est utilisée, le système d'alimentation
en carburant du moteur est désactivé. Lorsque le contact est en position ON, le
témoin du système antidémarrage doi ...
Rétroviseur extérieur
Réglez toujours les rétroviseurs avant de commencer à conduire.
Votre véhicule est équipé de rétroviseurs gauche et droit.
Il est possible de régler les rétroviseurs à distance grâce à un bouton.
Il est possible de rabattre le boîtier des rétroviseurs afin d'éviter tout domma ...