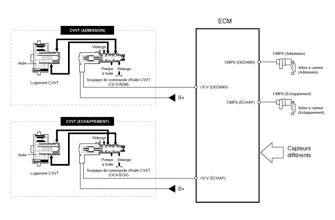
| Description |

| Principe de fonctionnement |

| [Mode système CVVT] |

|
(1) Vitesse lente / Charge faible |
(2) Charge partielle |
|
|
|
|
(3) Vitesse lente / Charge élevée |
(4) Vitesse rapide / Charge élevée |
|
|
|
|
Conduite État |
Soupape d′échappement |
Soupape d′admission |
||
|
Soupape Distribution |
Effet |
Soupape Distribution |
Effet |
|
|
(1) Vitesse lente /basse charge |
complètement AVANCE |
* Écart de soupape * Amélioration de la stabilité de combustion |
complètement RETARD |
* Écart de soupape * Amélioration de la stabilité de combustion |
|
(2) Charge partielle |
RETARD |
* Augmentation du travail de détente * Réduction de perte au changement de charge * Réduction de HC |
RETARD |
* Réduction de perte au changement de charge |
|
(3) Vitesse lente /haute charge |
RETARD |
* Augmentation du travail de détente |
AVANCE |
* Prévention contre l'écoulement d'admission vers l'arrière (Amélioration
de l'efficacité du volume) |
|
(4) Vitesse rapide /haute charge |
AVANCE |
* Réduction de perte au changement de charge |
RETARD |
* Amélioration de l'efficacité du volume |
Convertisseur catalytique: Description et fonctionnementFonctionnement du système audio de la voiture
Les signaux radio AM et FM sont diffusés par des émetteurs situés en périphérie
des villes et interceptés par l’antenne radio de votre voiture. Ce signal est ensuite
réceptionné par le système radio et retransmis aux hautparleurs de la voiture.
Si votre véhicule capte un signal ra ...
Témoin de niveau de carburant bas
Ce témoin s'allume dans les cas suivants :
Lorsque le réservoir de carburant est presque vide.
Lorsque le réservoir de carburant est presque vide :
Ajoutez du carburant dès que possible.
REMARQUE - Niveau de carburant bas
Si vous conduisez alors que le témoin de niveau de carburant e ...